Запасные части ЧТЗ Запасные части ЧТЗ
Костанай
Например:
Актобе
Алдан
или
Выбрать автоматически
Актобе
Алдан
Алматы
Алчевск
Архангельск
Астана
Астрахань
Атырау
Баку
Балашиха
Барнаул
Белгород
Бердянск
Бишкек
Владивосток
Владикавказ
Воркута
Воронеж
Горловка
Грозный
Донецк
Екатеринбург
Иваново
Ижевск
Иркутск
Казань
Калининград
Каменск-Уральский
Караганда
Каховка
Кемерово
Киров
Комсомольск-на-Амуре
Костанай
Краснодар
Красноярск
Красный луч
Ленск
Луганск
Магадан
Магнитогорск
Макеевка
Махачкала
Мелитополь
Минск
Мирный (Якутия)
Москва
Мурманск
Нерюнгри
Нижневартовск
Нижний Новгород
Нижний Тагил
Новая каховка
Новокузнецк
Новосибирск
Новый Уренгой
Норильск
Ноябрьск
Нур-Султан
Омск
Оренбург
Ош
Павлодар
Пермь
Петрозаводск
Петропавловск
Петропавловск-Камчатский
Псков
Ростов-на-Дону
Салехард
Самара
Санкт-Петербург
Саратов
Севастополь
Семей
Симферополь
Сочи
Ставрополь
Сургут
Сыктывкар
Тараз
Ташкент
Токмак
Томск
Тында
Тюмень
Ульяновск
Усинск
Усть-Каменогорск
Уфа
Хабаровск
Ханты-Мансийск
Херсон
Челябинск
Чита
Шымкент
Экибастуз
Энергодар
Южно-Сахалинск
Якутск
Ваш город
Костанай
Войти
Запасные части к тракторам на одном сайте
+7 (932) 303-00-10
+7 (932) 303-00-10
г. Костанай, ул.Базовая, д. 1
Пн-Пт: 9:30-18:30 Cб-Вс: Выходной
Отправить заявку


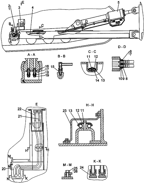
Гидрооборудование отвала 749-72-5СП на ДЭТ-320Б1


/
с НДС 20%
Описание
Гидрооборудование отвала 749-72-5СП
Поз.ОбозначениеНаименованиеКол-во
1М16-8gх30.58.019Болт 2
2Шайба 16 ОТ 65Г / 16 65Г 2
3749-72-256СПКожух1
450-26-485СПРукав РВД Z16-20-6504
5749-72-240СПГидрораскос1
6М8-6gх25.88.35.019Болт 4
7 8 65Г 09; 8Т 65Г 019Шайба4
8700-30-2308Гайка2
9749-72-387Крышка1
10749-72-388Прокладка1
11М10-6gх40.58.019Болт 3
12749-72-13Хомут3
13749-72-14Прокладка3
14749-72-241СПТруба2
15749-72-30Проходник2
16749-72-31Штуцер2
17Кольцо 020-025-30-2-28
18749-72-29Муфта2
19С25 65Г Ц9ХрКольцо 2
20749-72-257СПКожух1
21749-72-196СПТруба1
22749-72-195СПТруба1
23749-72-410Кожух1
24700-58-148Заглушка2
25М10-6gх20.58.019Болт 12
2610 ОТ 65Г 09Шайба 12
Гидрооборудование отвала 749-72-5СП